首页 -  常见问题 -  CMS9常见问题 -  内容管理
【CMS9】如何删除文章

如何删除网站上的文章/撤销文章不在网站上显示。

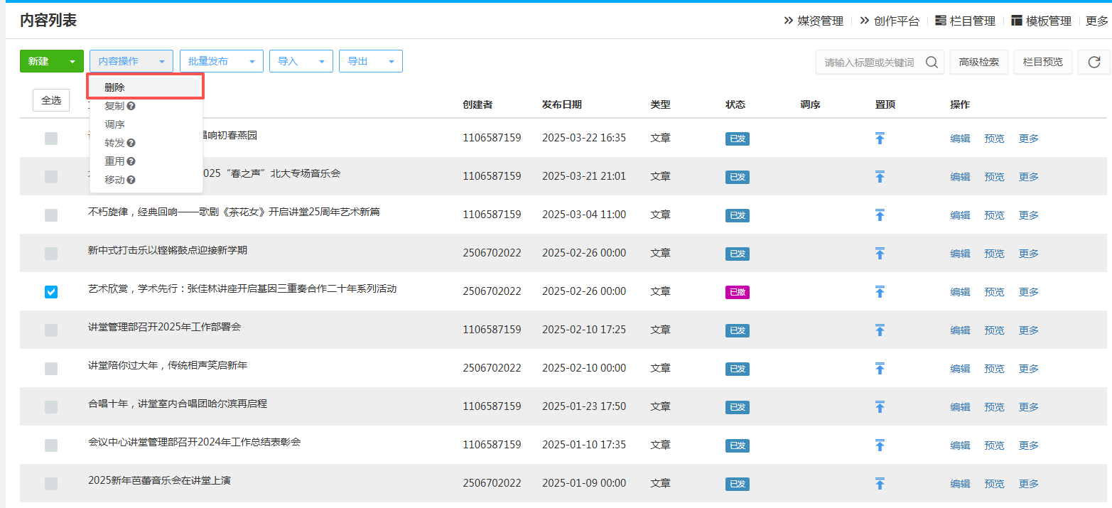
登录后台-内容管理,找到对应栏目中要删除的文章,选中文章后,内容操作中撤销稿件。

撤销后的文章,状态为已撤,选中文章后,内容操作中可以删除文章。

文章状态为已撤、新稿、已编的文章可以删除。

特别提醒: 后台删除文章之后,需要在内容管理做一下发布操作,网页端才能更新。

删除的文章,存放在回收站里,用户可以根据需要还原或彻底删除文章。

页面导读